Texas Instruments TPS7A3401 Negative Voltage Regulator

Texas Instruments TPS7A3401 Negative Voltage Regulator is a negative, high-voltage (-20V), low-noise linear regulator capable of sourcing a maximum load of 200mA. TI TPS7A3401 Negative Voltage Regulator includes a CMOS logic-level-compatible enable pin. Other features available include a built-in current limit and thermal shutdown protection to safeguard the device and system during fault conditions. Texas Instruments TPS7A3401 is designed using bipolar technology and is ideal for instrumentation applications in which clean voltage rails are critical for improving system performance. This design makes this linear regulator a cost-effective choice to power op amps, analog-to-digital converters, digital-to-analog converters, and other analog circuitry. The TPS7A3401 is also suitable for cost-effective, post DC-DC converter regulation.

Features

  • -3V to -20V Input Voltage Range
  • Noise
    • 80µVRMS (10Hz to 100kHz)
  • Power-Supply Ripple Rejection
    • 50dB (1kHz)
    • ≥ 27dB (10Hz to 1MHz)
  • ~ -1.18V to -18V Adjustable Output
  • 200mA Maximum Output Current
  • 500 mV at 100mA Dropout Voltage
  • Stable with Ceramic Capacitors ≥ 2.2µF
  • CMOS Logic-Level-Compatible Enable Pin
  • Built-In, Fixed, Current-Limit, and Thermal Shutdown Protection
  • Available in High Thermal Performance MSOP-8 PowerPAD Package
  • Operating Temperature Range: -40°C to +125°C

Applications

  • Cost-Effective Supply Rails for Op Amps, DACs, ADCs, and Other High-Precision Analog Circuitry
  • Cost-Effective Post DC/DC Converter Regulation and Ripple Filtering

Typical Application Circuit

Application Circuit Diagram - Texas Instruments TPS7A3401 Negative Voltage Regulator

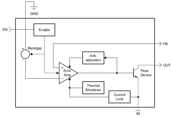
Functional Diagram

Block Diagram - Texas Instruments TPS7A3401 Negative Voltage Regulator
Published: 2012-02-16 | Updated: 2022-03-11