Texas Instruments TPS546B25/TPS546B25W Synchronous Buck Converters
Texas Instruments TPS546B25/TPS546B25W Synchronous Buck Converters are highly integrated, stackable buck converters with D-CAP4 control topology for fast transient response. These converters support an input voltage range of 4V to 18V (down to 2.7V with external bias) and offer single-phase or stacked configurations of 2x, 3x, or 4x. The TPS546B25/TPS546B25W converters feature PMBus 1.5 compliance and offer extensive telemetry, including voltage, current, and temperature. These buck converters operate within a 400kHz to 2MHz operating frequency range (four discrete settings via a pin-strap, with additional settings available through PMBus®). Additional features include programmable internal loop compensation, selectable cycle-by-cycle valley current limit, and open-drain power-good output. The TPS546B25/TPS546B25W buck converters are lead-free devices and are RoHS compliant without exemption. Typical applications include servers and cloud computing POLs, hardware accelerators, and Network Interface Cards (NICs).
Features
- 2.7V to 18V input voltage range with external bias
- 4V to 18V input voltage range without external bias
- 0.4V to 5.5V output voltage range
- Supports 25A single-phase or 2 x, 3 x, or 4 x stacked configurations
- Rdson_HS = 2.6mΩ, Rdson_LS = 1mΩ
- 400kHz to 2MHz operating frequency (four discrete settings through pin-strap, additional settings through PMBus®)
- PMBus programmable:
- Revision 1.5 compliant with PASSKEY security feature
- Input voltage, output voltage, output current, temperature telemetry
- Programmable overcurrent, overvoltage, undervoltage, overtemperature protections
- Includes single command write function in stacked configuration
- Extended write protection feature
- Non-volatile memory to store configuration settings
- Two methods for programming the output voltage:
- Internal resistor divider (discrete settings) with boot-up voltage selected by pin-strapping
- External resistor divider (continuous settings) with boot-up voltage selected by VBOOT
- Precision voltage reference and differential remote sense for high output accuracy:
- ±0.5% DAC accuracy from 0°C to 85°C junction
- ±0.85% VOUT tolerance from -40°C to 125°C junction
- Selectable FCCM/DCM in single phase only
- Start-up without PMBus communication through pin-strapping
- Safe start-up into prebiased output
- 0.5ms to 16ms programmable soft-start time
- D-CAP4 control topology with fast transient response, supporting all ceramic output capacitors
- Programmable internal loop compensation
- Selectable cycle-by-cycle valley current limit
- Open-drain power-good output
Applications
- Server and cloud-computing POLs
- Hardware accelerator
- Network Interface Card (NIC)
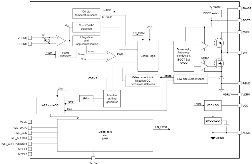
Block Diagram when External Feedback is Selected
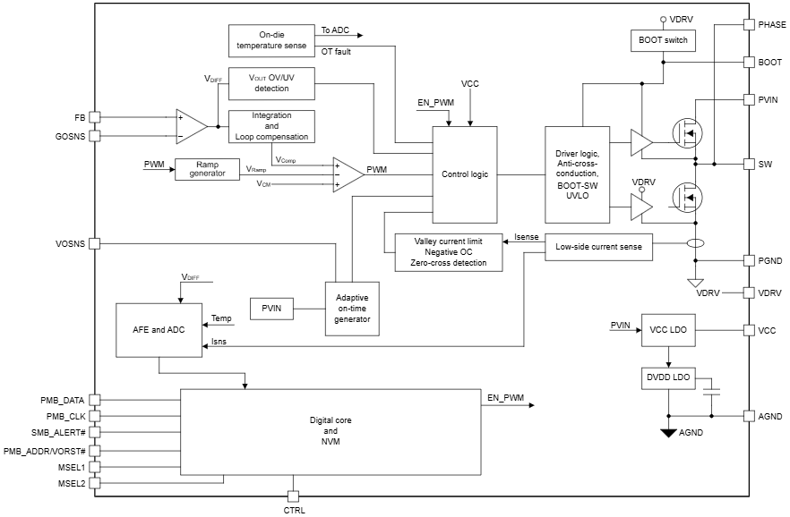
Block Diagram when Internal Feedback is Selected
Typical Efficiency Graph
