Texas Instruments bq34210-Q1 Automotive CEDV Fuel Gauge
Texas Instruments bq34210-Q1 Automotive 1-Series Cell System-Side CEDV Fuel Gauge provides fuel gauging and End-of-Service (EOS) Determination for 1-series cell batteries in applications that encounter infrequent discharge. These applications include eCall systems and uninterruptible power supplies (UPS) for backup during power failures, where batteries may stay connected to a charging power source for most of the device's lifetime until needed. Several battery chemistries are supported on the device, including Li-Ion, LiFePO4, and NiMH.The gas gauging function utilizes voltage, current, and temperature data along with Compensated End-of-Discharge (CEDV) technology to provide State-of-Charge (SOC) and State-of-Health (SOH) data. The bq34210-Q1 EOS Determination function alerts when battery capability has degraded and is approaching the end of its usable service. The device battery fuel gauging requires connections only to PACK+ (P+) and PACK– (P–) for a removable battery pack or embedded battery management system. The Texas Instruments bq34210-Q1 devices are AEC-Q100 qualified for automotive applications.
Features
- Automotive-qualified AEC-Q100, Grade 3
- 1-series cell battery fuel gauge supports Li-Ion, LiFePO4, and NiMH (3-cell) chemistries
- Resides on system board
- Powers directly from the battery with integrated LDO
- Supports a low-value external sense resistor (10mΩ)
- Learning Load Enable (LEN) from host
- Ultra-low power consumption in NORMAL (50µA) and SLEEP (9µA) modes
- Supports replacement batteries
- Accurate End-of-Service (EOS) determination for batteries in rarely discharged applications
- CEDV gas gauge for 1-series cell batteries, providing
- State-of-Charge (SOC)
- Time-to-Empty (TTE)
- State-of-Health (SOH)
- High-side and low-side current sensing options
- Internal temperature sensor or external thermistor
- Microcontroller peripheral interface supports
- 400kHz I2C™ serial interface
- Configurable interrupt (ALERT) for SOC, battery levels, temperature faults, and charge/discharge status
Applications
- eCall systems
- Telematics backup systems
- Uninterruptible Power Supply (UPS) backup systems
- Emergency battery power modules
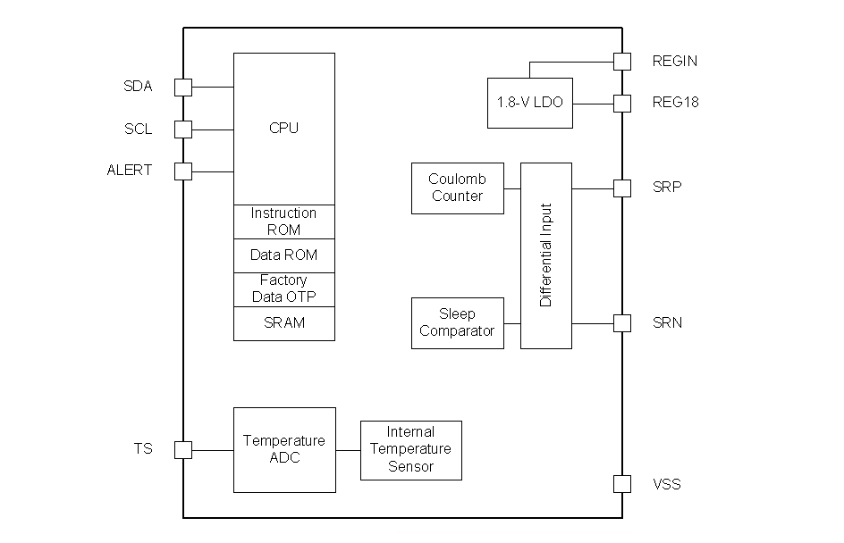
Block Diagram
Published: 2019-05-16
| Updated: 2025-03-11
