Texas Instruments ADC34J4x 14-Bit Analog-to-Digital Converters

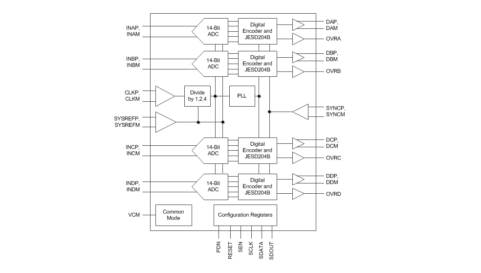
Texas Instruments ADC34J4x 14-Bit Analog-to-Digital Converter (ADC) is a high-linearity, ultra-low power, quad-channel, 14-bit, 50MSPS to 160MSPS, analog-to-digital converter (ADC). These devices are designed specifically to support demanding, high input frequency signals with large dynamic range requirements. A clock input divider allows more flexibility for system clock architecture design while the SYSREF input enables complete system synchronization.

The Texas Instruments ADC34J4x family supports serial current-mode logic (CML) and JESD204B interfaces in order to reduce the number of interface lines, thus allowing high system integration density. The JESD204B interface is a serial interface, where the data of each ADC is serialized and output over only one differential pair. An internal phase-locked loop (PLL) multiplies the incoming ADC sampling clock by 20 to derive the bit clock that is used to serialize the 14-bit data from each channel. The ADC34J4x devices support subclass 1 with interface speeds up to 3.2Gbps.

Features

  • Quad channel
  • 14-Bit resolution
  • Single 1.8V supply
  • Flexible input clock buffer with divide-by-1, -2, -4
  • SNR = 72dBFS, SFDR = 86dBc at fIN = 70MHz
  • Ultra-low power consumption
    • 203mW/Ch at 160MSPS
  • 105dB channel isolation
  • Internal dither
  • JESD204B serial interface
    • Supports subclass 0, 1, 2
    • Supports one lane per ADC up to 160MSPS
  • Support for multi-chip synchronization
  • Pin-to-pin compatible with 12-bit version
  • VQFN-48 (7mm × 7mm) package

Applications

  • Multi-carrier, multi-mode cellular base stations
  • Radar and smart antenna arrays
  • Munitions guidance
  • Motor control feedback
  • Network and vector analyzers
  • Communications test equipment
  • Nondestructive testing
  • Microwave receivers
  • Software-Defined Radios (SDRs)
  • Quadrature and diversity radio receivers

Videos

Block Diagram

Block Diagram - Texas Instruments ADC34J4x 14-Bit Analog-to-Digital Converters
Published: 2014-11-04 | Updated: 2025-06-23