STMicroelectronics STM32WBA5 Multiprotocol Wireless Radio MCUs

STMicroelectronics STM32WBA5 Multiprotocol Wireless Radio MCUs are certified for BLUETOOTH® Low Energy 5.4 protocol and allow non-expert developers to add wireless communication to devices at an affordable cost easily. Based on the Arm® Cortex®-M33 core featuring TrustZone® technology, the STM32WBA series provides a high level of security, protecting data and IPs and preventing hacks or device cloning. The STM32WBA wireless MCU embeds 1Mbyte of flash memory and 128Kbytes of RAM, hosted in QFN48 and QFN32 packages. Leveraging the STM32U5 architecture, the STM32WBA components offer an ultra-low-power platform and inherited digital/analog peripherals, suitable for many applications, from industrial to smart home and consumer markets.

Features

  • ST state-of-the-art patented technology
  • Ultra-low-power radio
    • 2.4GHz
    • RF transceiver supporting BLUETOOTH 5.3 specification
    • Proprietary protocols
    • -96dBm RX sensitivity (BLUETOOTH Low Energy at 1Mbps)
    • Programmable output power up to +10dBm with 1dB steps
    • Integrated balun to reduce BOM
    • Support for 1Mbps
    • Suitable for systems requiring compliance with radio frequency regulations ETSI EN 300 328, EN 300 440, FCC CFR47 Part 15, and ARIB STD-T66
  • Ultra-low-power platform
    • 1.71V to 3.6V power supply
    • -40°C to +85°C temperature range
    • Autonomous peripherals with DMA, functional down to Stop 1 mode
    • 140nA standby mode (16x wakeup pins)
    • 200nA standby mode with RTC
    • 2.4µA standby mode with 64KB SRAM
    • 16.3µA stop mode with 64KB SRAM
    • 45µA/MHz run mode at 3.3V
    • Radio: Rx 7.4mA / Tx at 0dBm 10.6mA
  • Arm® 32-bit Cortex®-M33 CPU with TrustZone®, MPU, DSP, and FPU
  • ART Accelerator™ with 8Kbyte instruction cache allowing 0-wait-state execution from flash memory (frequency up to 100MHz, 150DMIPS)
  • Power management with an embedded LDO regulator supporting voltage scaling
  • Benchmarks
    • 1.5DMIPS/MHz (Drystone 2.1)
    • 407 CoreMark® (4.07 CoreMark/MHz)
  • Clock sources
    • 32MHz crystal oscillator
    • 32kHz crystal oscillator (LSE)
    • Internal low-power 32kHz (±5%) RC
    • Internal 16MHz factory trimmed RC (±1%)
    • PLL for the system clock and ADC
  • Memories
    • 1MB flash memory with ECC, including 256Kbytes with 100x cycles
    • 128KB SRAM, including 64KB with parity check
    • 512-byte (32x rows) OTP
  • Rich analog peripherals (independent supply), 12-bit ADC 2.5Msps with hardware oversampling
  • Communication peripherals
    • 3x UARTs (ISO 7816, IrDA, modem)
    • 2x SPIs
    • 2x I2C Fm+ (1Mbit/s), SMBus/PMBus®
  • System peripherals
    • Touch sensing controller, up to 20x sensors, supporting touch key, linear, and rotary touch sensors
    • 1x 16-bit, advanced motor control timer
    • 3x 16-bit timers
    • 1x 32-bit timer
    • 2x low-power 16-bit timers (available in Stop mode)
    • 2x Systick timers
    • 2x watchdogs
    • 8-channel DMA controller, functional in Stop mode
  • Security and cryptography
    • Arm® TrustZone® and securable I/Os, memories, and peripherals
    • Flexible life cycle scheme with RDP and password-protected debug
    • Root of trust thanks to unique boot entry and secure hide protection area (HDP)
    • SFI (secure firmware installation) thanks to embedded RSS (root secure services)
    • Secure data storage with root hardware unique key (RHUK)
    • Secure firmware upgrade support with TF-M
    • 2x AES co-processors, including 1x with DPA resistance
    • Public key accelerator, DPA resistant
    • HASH hardware accelerator
    • True random number generator, NIST SP800-90B compliant
    • 96-bit unique ID
    • Active tampers
    • CRC calculation unit
  • Up to 35x I/Os (most of them 5V-tolerant) with interrupt capability
  • Serial wire debug (SWD) and JTAG development support
  • STM32WBA54/55
    • Multi-protocols flexibility (BLE 5.4 certified including audio, Zigbee, OpenThread/Matter, 802.15.4)
    • SESIP level 3 certification

Applications

  • Power tools
  • Wellness
  • Fitness
  • Medical and healthcare
  • Home automation
  • Industrial
  • Smart homes

Videos

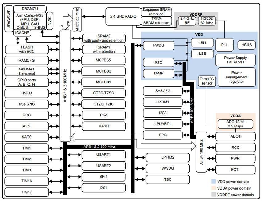
Block Diagram

Block Diagram - STMicroelectronics STM32WBA5 Multiprotocol Wireless Radio MCUs

Infographic

STMicroelectronics STM32WBA5 Multiprotocol Wireless Radio MCUs

Content Stream

STMicroelectronics STM32WBA5 Multiprotocol Wireless Radio MCUs
Published: 2023-02-23 | Updated: 2026-02-17