Analog Devices Inc. AD7401 Isolated Sigma-Delta Modulators
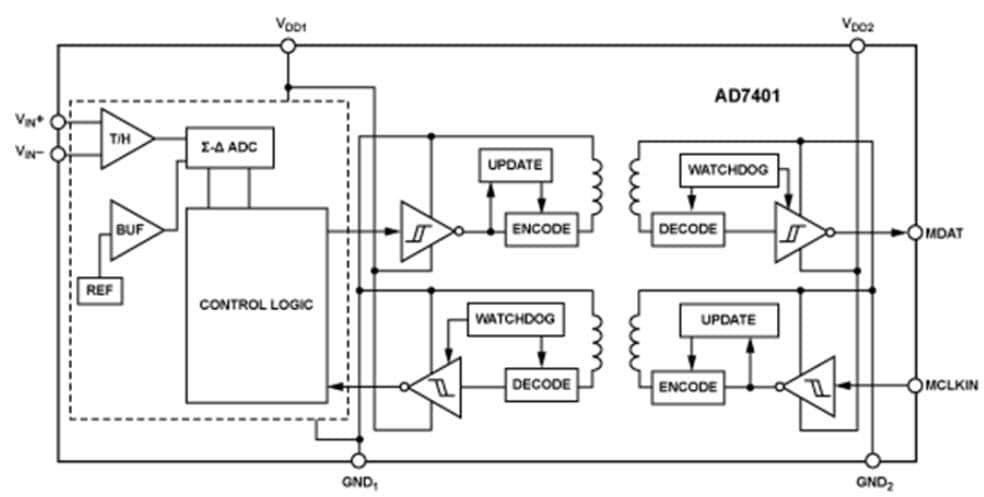
Analog Devices Inc. AD7401 Isolated Sigma-Delta Modulators are based on ADI's iCoupler® technology and convert an analog input signal into a high speed, 1-bit data stream with on-chip digital isolation. Analog Devices AD7401 is a second-order, sigma-delta (Σ-Δ) modulator that operates from a 5V power supply and accepts a differential input signal of ±200mV (±320mV full scale). The analog input is continuously sampled by the analog modulator, eliminating the need for external sample-and-hold circuitry. The input information is contained in the output stream as a density of ones with a data rate up to 20MHz. The original information can be reconstructed with an appropriate digital filter. The serial input/output can use a 5V or a 3V supply (VDD2).The serial interface is digitally isolated. High speed CMOS with monolithic air core transformer technology allows on-chip isolation to provide outstanding performance characteristics, superior to alternatives like optocoupler devices. The device contains an on-chip reference. The AD7401 is offered in a 16-lead SOIC and has an operating temperature range of -40°C to +105°C.
An internal clock version, AD7400, is also available.
Features
- 20MHz maximum external clock rate
- Second-order modulator
- 16 bits no missing codes
- ±2 LSB INL typical at 16 bits
- 3.5μV/°C maximum offset drift
- On-board digital isolator
- On-board reference
- 20mA maximum operation at 5.25V
- -40°C to +105°C operating range
- 16-lead SOIC package
- Safety and regulatory approvals
Applications
- AC motor controls
- Data acquisition systems
- A/D + opto-isolator replacements
Block Diagram
Published: 2018-04-03
| Updated: 2023-01-27
